Hybrid Tee
1. Structure and
Principles of Operation





2. Applications
Mixing
Duplexing
Impedance measurements
Radar transmitters

Figure: Magic tees for power combining

Figure: Magic tees for radar transceivers

Figure: Magic tees in a monopulse compratator

Figure: Magic tees in a monopulse compratator

Figure: Magic
tees in a power combiner network
3. Various
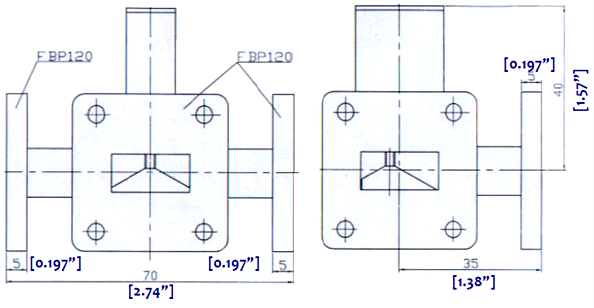
Forms of Waveguide Magic Tee

Figure: Mega Industries magic tee

Fig: MDL magic tee products

Figure: Waveguide magic-T by Sylatech
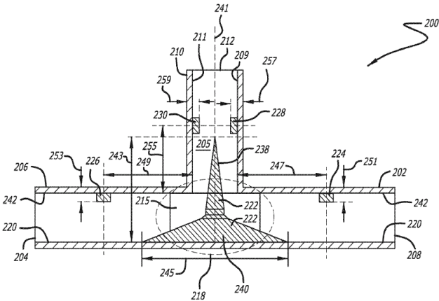
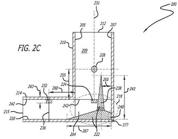
4. Design of Hybrid Tee
1) Waveguide design


2) Double-ridge waveguide design

3) Junction impedance matching

[Electronics
Technician - Integrated Publishing]

[Vedan(06)]

[Baek(11)]

[Beyer(03)]

[Hwang(09)]

[Leal-Sevillano(13)]


[US9997820]


[RF-Lambda RWCB75W2T]